中国石化获得发明专利授权:“一种催化裂化制备CO产品的方法”
证券之星消息,根据天眼查APP数据显示中国石化(600028)新获得一项发明专利授权,专利名为“一种催化裂化制备CO产品的方法”,专利申请号为CN202111158041.X,授权日为2025年5月13日。

图片来源于网络,如有侵权,请联系删除
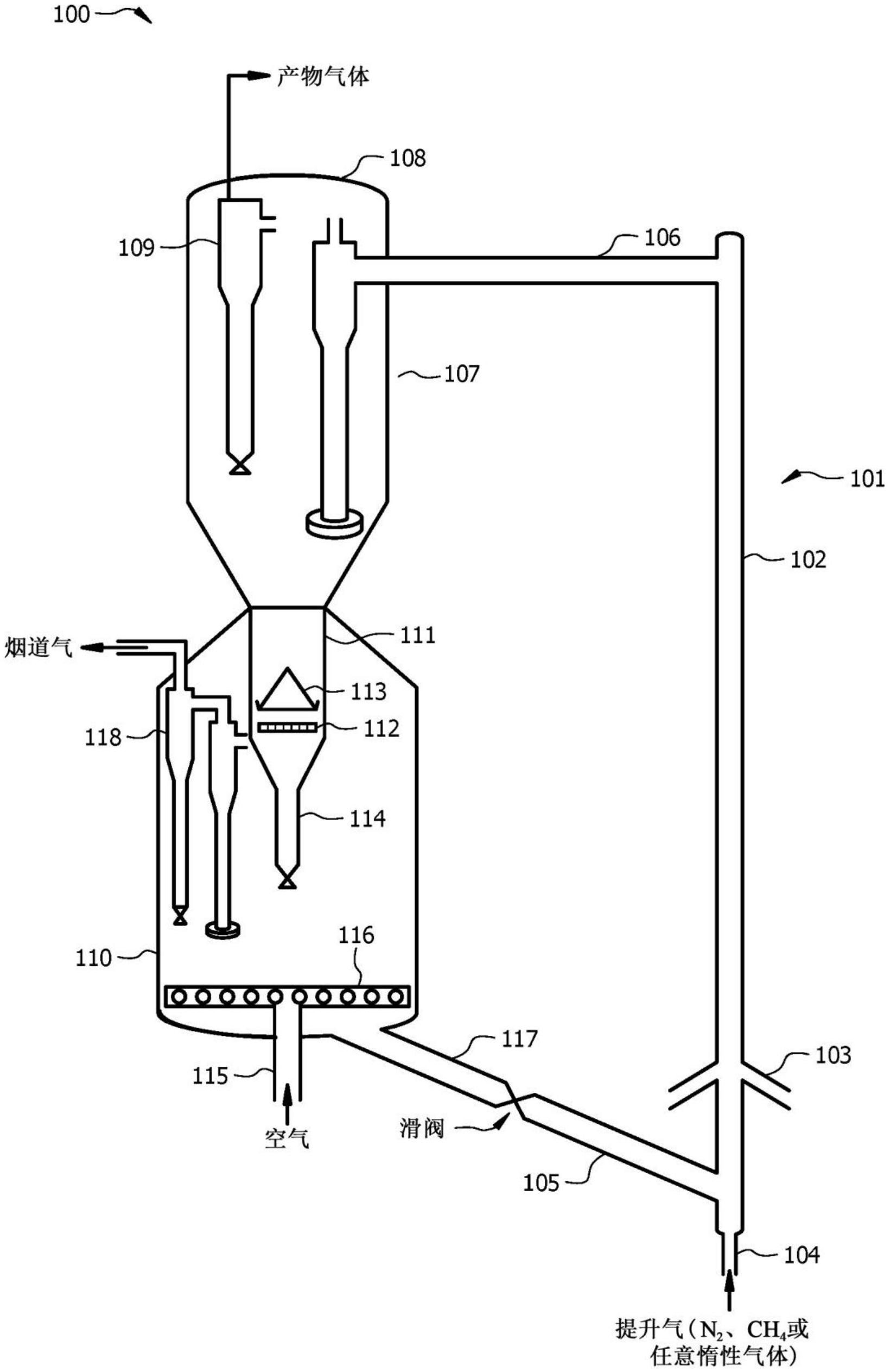
专利摘要:本申请公开一种催化裂化制备CO产品的方法,包括:使烃油原料与催化裂化催化剂在催化裂化反应器中接触并进行催化裂化反应,分离反应油气和积炭的待生催化剂,反应油气送入后续分离系统;使所述待生催化剂经汽提后送入再生器,使所述待生催化剂与所述再生器含氧气体在所述再生器中逆流接触,使所述待生催化剂再生,所得再生催化剂输送至所述催化裂化反应器;烟气从所述再生器顶部引出,经分离得到CO产品;其中,所述再生器的第一再生区设置有至少一个孔板,所述孔板倾斜角度为0~50°。本发明方法可以大幅度降低CO2排放,并生产CO,还可减少催化再生过程中过剩的热量,解决再生器尾燃的问题。

图片来源于网络,如有侵权,请联系删除
今年以来中国石化新获得专利授权1197个,较去年同期减少了39.48%。结合公司2024年年报财务数据,2024年公司在研发方面投入了152.15亿元,同比增8.92%。

图片来源于网络,如有侵权,请联系删除
数据来源:天眼查APP
以上内容为证券之星据公开信息整理,由AI算法生成(网信算备310104345710301240019号),不构成投资建议。
目录 返回
首页
