威胜信息获得实用新型专利授权:“一种装配式监测仪”
证券之星消息,根据天眼查APP数据显示威胜信息(688100)新获得一项实用新型专利授权,专利名为“一种装配式监测仪”,专利申请号为CN202421103677.3,授权日为2025年5月6日。

图片来源于网络,如有侵权,请联系删除
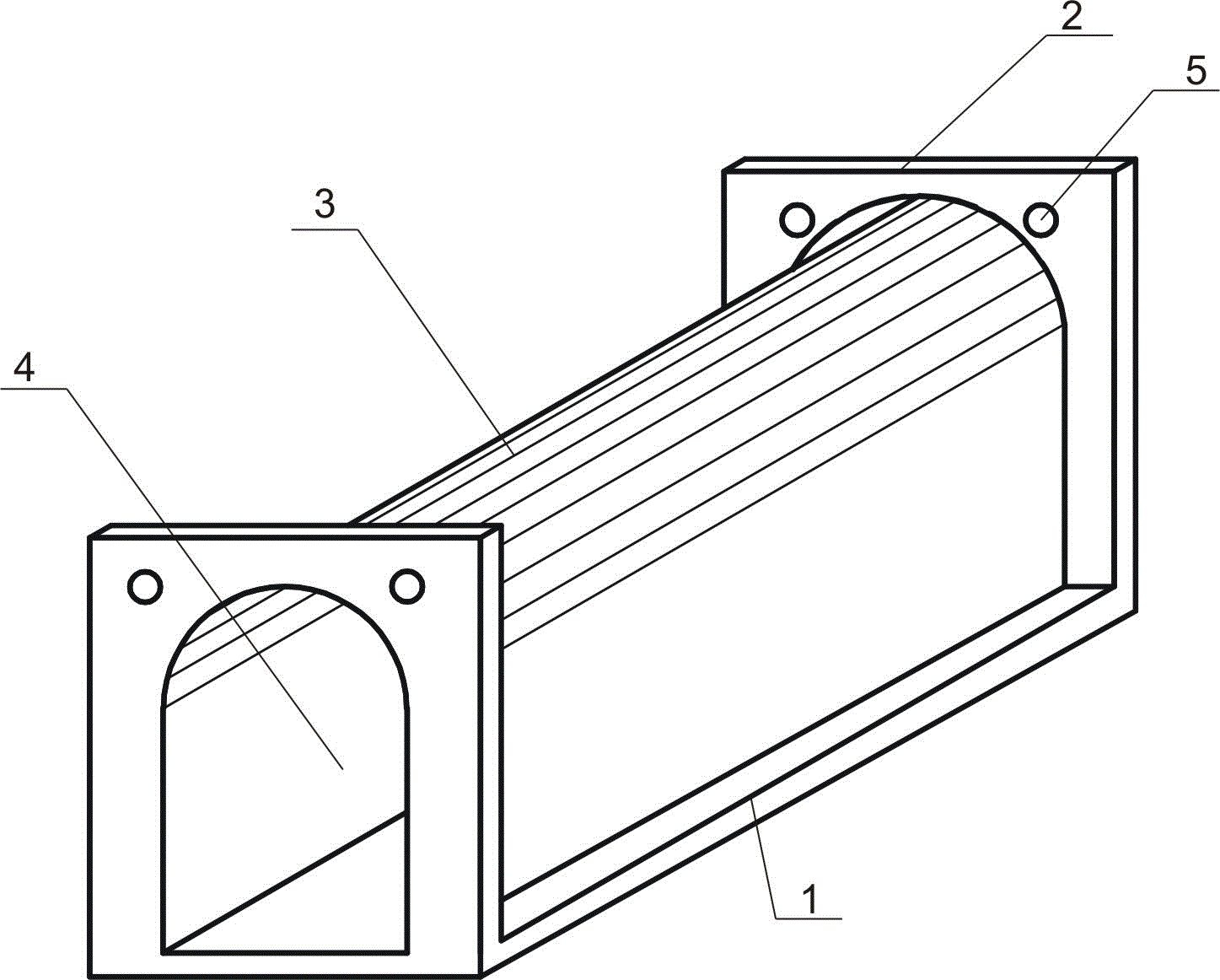
专利摘要:本实用新型公开了一种装配式监测仪,包括装配式的壳体单元以及置于壳体单元内的电子单元,所述壳体单元包括第一壳体和第二壳体,第一壳体与第二壳体两侧设有隔板,所述第一壳体和第二壳体与隔板轴孔定位;所述电子单元与第一壳体/第二壳体滑动定位连接;所述第一壳体与所述第二壳体之间固定连接;本实用新型灵活的运用了结构设计的特点,各个部件之间连接牢固、可靠、快速且准确,拆卸时只需要将第一壳体和第二壳体固定连接处进行拆卸即可实现整体的拆卸,本实用新型具备既简便了安装与拆卸,又节省了成本与生产效率的提高。

图片来源于网络,如有侵权,请联系删除
今年以来威胜信息新获得专利授权30个,较去年同期增加了57.89%。结合公司2024年年报财务数据,2024年公司在研发方面投入了2.41亿元,同比增5.95%。

图片来源于网络,如有侵权,请联系删除
数据来源:天眼查APP
以上内容为证券之星据公开信息整理,由AI算法生成(网信算备310104345710301240019号),不构成投资建议。
目录 返回
首页
