财智汇

中油工程获得发明专利授权:“薄膜罐吊顶结构及薄膜罐”

24 05月
作者:小微|{/foreach}{/if}

证券之星消息,根据天眼查APP数据显示中油工程(600339)新获得一项发明专利授权,专利名为“薄膜罐吊顶结构及薄膜罐”,专利申请号为CN202111676465.5,授权日为2025年5月23日。

中油工程获得发明专利授权:“薄膜罐吊顶结构及薄膜罐”
图片来源于网络,如有侵权,请联系删除

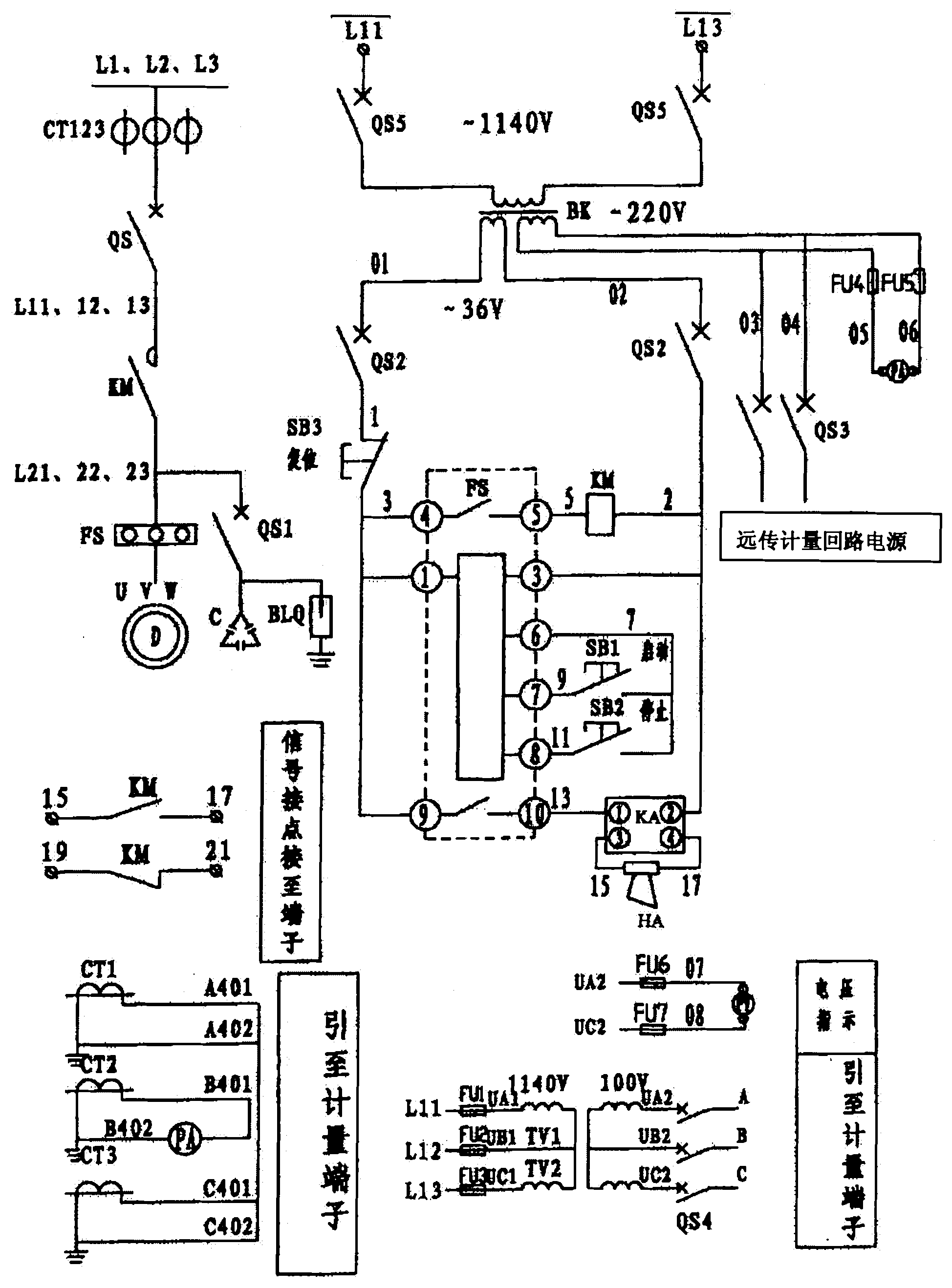
专利摘要:本申请提供一种薄膜罐吊顶结构及薄膜罐,包括中心吊顶件和环中心吊顶件的周向分布的多个外伸梁,各外伸梁的第一端均与中心吊顶件活动连接,各外伸梁的第一端均具有抵接面,各外伸梁均具有伸展状态和回折状态;外伸梁的第二端向远离中心吊顶件的中心的方向伸展,且整个外伸梁均沿中心吊顶件所在的平面伸展,抵接面抵接中心吊顶件,形成外伸梁的伸展状态;外伸梁的第二端向靠近中心吊顶件的中心的方向回折,形成外伸梁的回折状态;其中,外伸梁的第一端和外伸梁的第二端为外伸梁的延伸方向的相对两端。本申请能够减少对内罐的罐壁顶部进行焊接时的施工难度和危险系数。

中油工程获得发明专利授权:“薄膜罐吊顶结构及薄膜罐”
图片来源于网络,如有侵权,请联系删除

今年以来中油工程新获得专利授权7个,较去年同期减少了46.15%。结合公司2024年年报财务数据,2024年公司在研发方面投入了18.61亿元,同比增21.56%。

中油工程获得发明专利授权:“薄膜罐吊顶结构及薄膜罐”
图片来源于网络,如有侵权,请联系删除

数据来源:天眼查APP

以上内容为证券之星据公开信息整理,由AI算法生成(网信算备310104345710301240019号),不构成投资建议。

浏览57.5k
返回
目录
返回
首页
光大证券发行证券业首单设置持续滚动发行条款科技创新短期公司债券 综述|全球人工智能模型又添“新成员”

Copyright © 2024 dw 版权所有

备案号: 蜀ICP备2024051291号-14

财智汇专业为您提供金融聚焦、实时解盘、新风向、业界新讯、财智新视、数字财经等财经方面资讯,财智汇是一个专业财经领域资讯服务者。

本站部分内容为转载,不代表本站立场,如有侵权请联系处理。