成大生物获得实用新型专利授权:“一种微载体换液装置”
证券之星消息,根据天眼查APP数据显示成大生物(688739)新获得一项实用新型专利授权,专利名为“一种微载体换液装置”,专利申请号为CN202422460487.3,授权日为2025年8月1日。

图片来源于网络,如有侵权,请联系删除
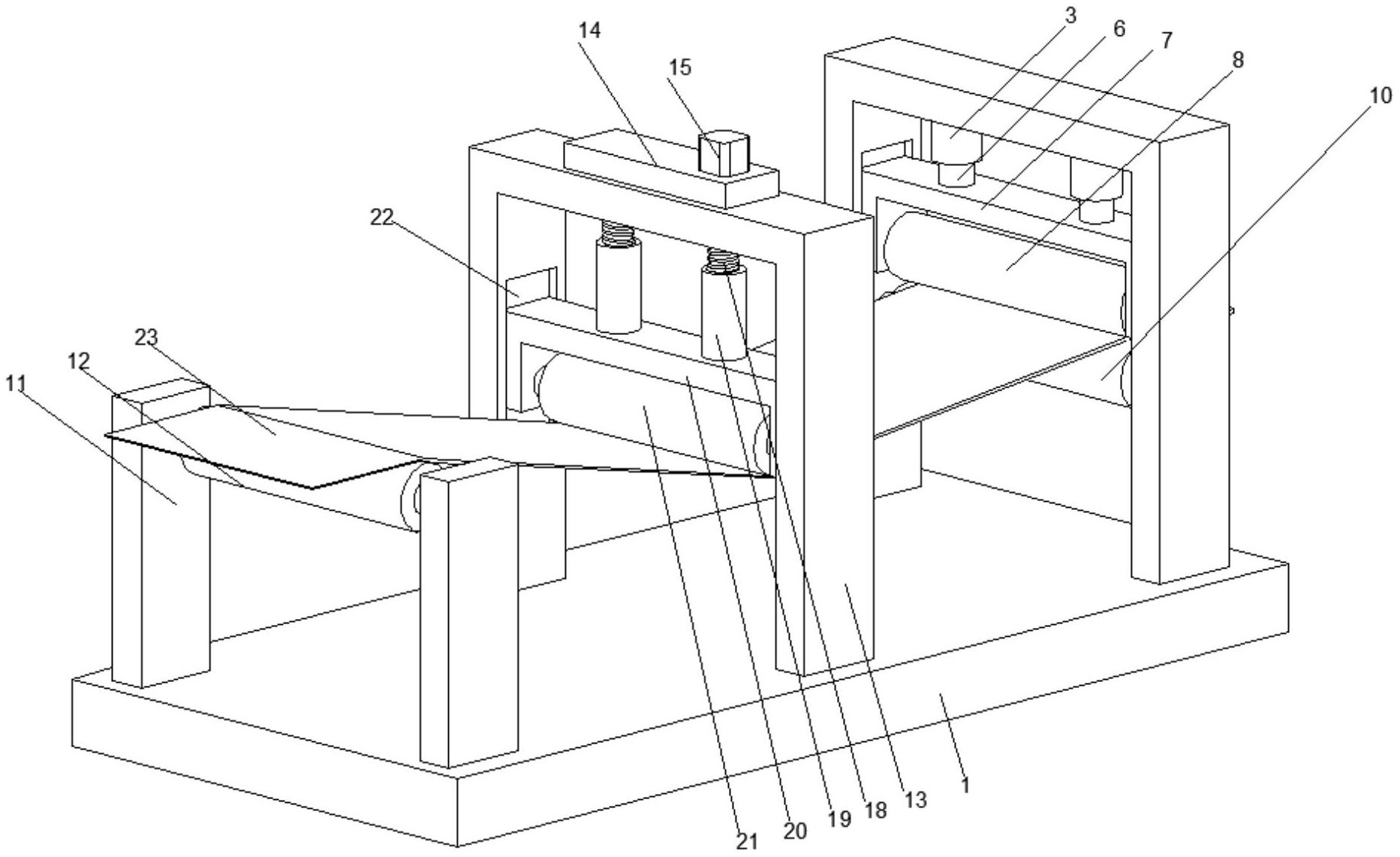
专利摘要:本申请涉及一种微载体换液装置,属于微载体的技术领域,其包括培养基瓶和微载体瓶,所述培养基瓶中插接有第一出液管,所述微载体瓶中插接有第一进液管,所述第一出液管和所述第一进液管上端设有连接两者的连接组件,所述培养基瓶中安装有驱动培养基进入所述第一出液管中的压力组件,所述微载体瓶上设有驱动所述微载体瓶中的废液排出的排液组件。本申请具有减少换液造成的染菌风险的效果。
今年以来成大生物新获得专利授权8个,较去年同期减少了71.43%。结合公司2024年年报财务数据,2024年公司在研发方面投入了2.83亿元,同比增28.34%。
通过天眼查大数据分析,辽宁成大生物股份有限公司共对外投资了10家企业,参与招投标项目847次;财产线索方面有商标信息31条,专利信息238条,著作权信息1条;此外企业还拥有行政许可142个。
数据来源:天眼查APP
以上内容为证券之星据公开信息整理,由AI算法生成(网信算备310104345710301240019号),不构成投资建议。
目录 返回
首页
