中国一重获得实用新型专利授权:“一种安装于大型水下无人潜航器主体框架结构上的电缆固定支架”
证券之星消息,根据天眼查APP数据显示中国一重(601106)新获得一项实用新型专利授权,专利名为“一种安装于大型水下无人潜航器主体框架结构上的电缆固定支架”,专利申请号为CN202422328525.X,授权日为2025年8月1日。

图片来源于网络,如有侵权,请联系删除
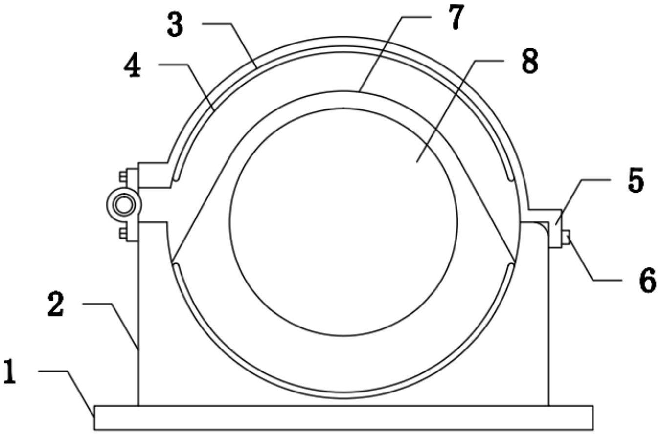
专利摘要:本实用新型属于大型水下无人潜航器技术领域,公开一种安装于大型水下无人潜航器主体框架结构上的电缆固定支架。包括可移动式电缆箍和固定支架,二者通过卡爪机构进行连接。电缆敷设工作分解为多组电缆的固定及电缆组与UUV之间的固定,减轻UUV舱体内电缆敷设难度;随时在UUV主体结构上需要的位置钻孔增设电缆固定支架,为设计制造更改增加冗余,减少焊接带来的局部应力集中对UUV主体结构强度的影响;通过凸轮锁紧机构的运动,完成电缆箍与固定支架的咬合,通过拉绳实现快速松开;通过尼龙带上的孔位与弹簧限位机构配合,绑定不同直径尺寸的电缆;通过改变橡胶调节垫板的厚度,有效避免在主体框架上加工孔位的偏差对电缆固定支架的影响。
今年以来中国一重新获得专利授权47个,较去年同期减少了38.16%。结合公司2024年年报财务数据,2024年公司在研发方面投入了6.09亿元,同比增29.63%。
通过天眼查大数据分析,中国第一重型机械股份公司共对外投资了32家企业,参与招投标项目3355次;财产线索方面有商标信息8条,专利信息2078条,著作权信息2条;此外企业还拥有行政许可333个。
数据来源:天眼查APP
以上内容为证券之星据公开信息整理,由AI算法生成(网信算备310104345710301240019号),不构成投资建议。
目录 返回
首页
