中国石化获得实用新型专利授权:“一种修井钻头”
证券之星消息,根据天眼查APP数据显示中国石化(600028)新获得一项实用新型专利授权,专利名为“一种修井钻头”,专利申请号为CN202422387661.6,授权日为2025年8月5日。

图片来源于网络,如有侵权,请联系删除
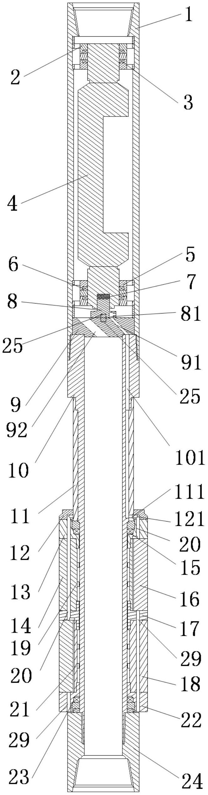
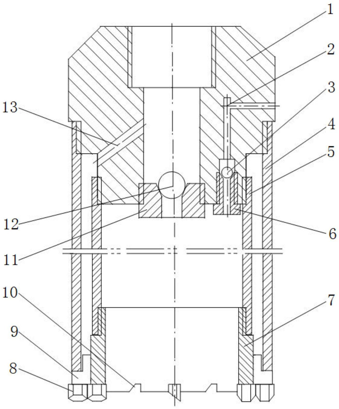
专利摘要:本实用新型涉及以抗磨部件为特征的旋转掘进型钻头领域,尤其涉及一种修井钻头。本实用新型的修井钻头包括钻头本体,所述本体的前端设有钻削刃,本体前端面设有破碎射流孔,钻头本体内具有液流空腔,液流空腔的腔壁上还设有助力喷射孔,所述助力喷射孔由本体的内周壁向外周壁延伸,延伸路径为直线形,且延伸方向背向钻进方向;或者在所述液流空腔的腔壁中埋设有助力喷头,助力喷头的喷射方向背向钻进方向。本实用新型在水流经过助力喷射孔时,水流喷射方向与钻头钻进方向相反,形成反向推力,由于助力喷射孔位置较为接近钻头钻进位置,传递扭矩过程中损失不大,从而推动钻头使钻头旋转速度加快,提高钻塞效率。

图片来源于网络,如有侵权,请联系删除
今年以来中国石化新获得专利授权1975个,较去年同期减少了42.74%。结合公司2024年年报财务数据,2024年公司在研发方面投入了152.15亿元,同比增8.92%。

图片来源于网络,如有侵权,请联系删除
通过天眼查大数据分析,中国石油化工股份有限公司共对外投资了263家企业,参与招投标项目15587次;财产线索方面有商标信息106条,专利信息88833条,著作权信息1175条;此外企业还拥有行政许可40个。
数据来源:天眼查APP
以上内容为证券之星据公开信息整理,由AI算法生成(网信算备310104345710301240019号),不构成投资建议。
目录 返回
首页
