京东方A获得发明专利授权:“像素驱动电路及其驱动方法、显示基板、显示装置”
证券之星消息,根据天眼查APP数据显示京东方A(000725)新获得一项发明专利授权,专利名为“像素驱动电路及其驱动方法、显示基板、显示装置”,专利申请号为CN202180000081.3,授权日为2025年8月5日。

图片来源于网络,如有侵权,请联系删除
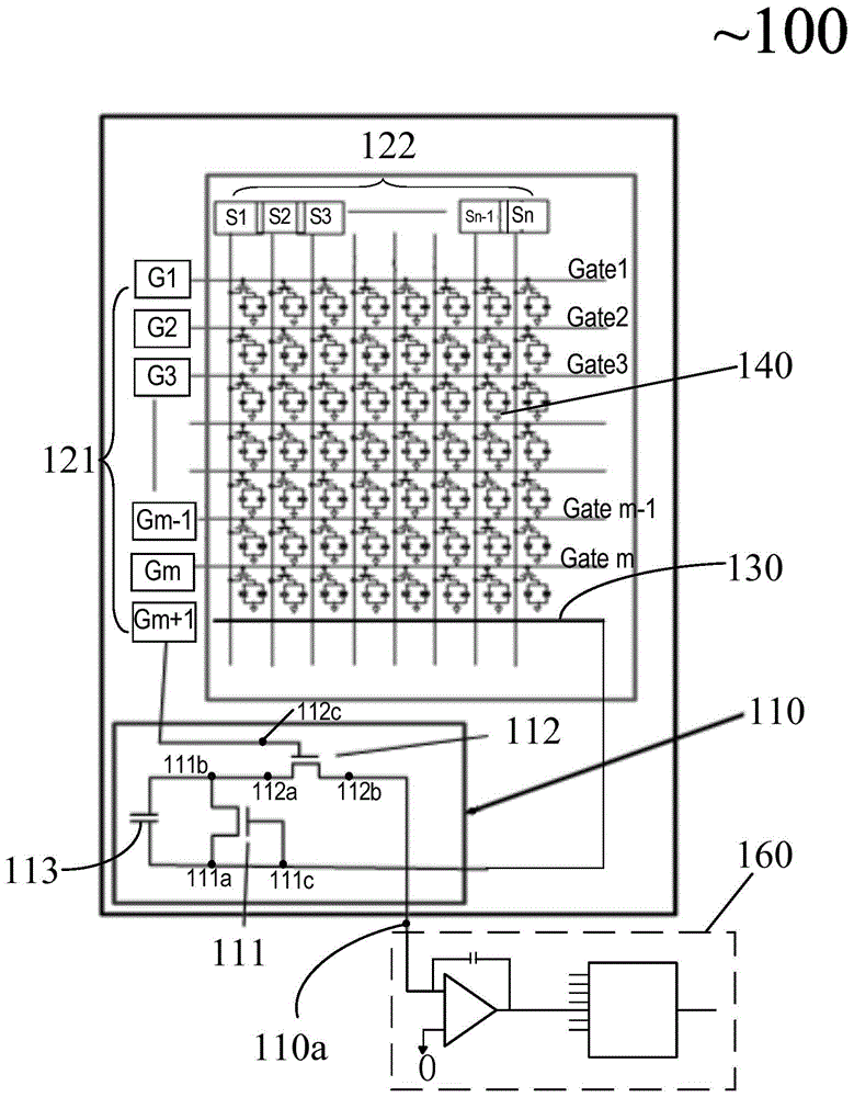
专利摘要:一种像素驱动电路及其驱动方法、显示基板、显示装置。像素驱动电路中,补偿子电路分别与第一控制端(AZn),驱动子电路的控制端和驱动子电路的第二端耦接;第一耦合子电路的第一端与驱动子电路的控制端耦接;第二耦合子电路的第一端与第一耦合子电路的第二端耦接;第一复位子电路分别与第二控制端(SnB),驱动子电路的控制端和初始化信号输出端(Init)耦接;第二复位子电路分别与第三控制端(AZn?1),第一耦合子电路的第二端和第一电平信号输出端(VDD)耦接;第一发光控制子电路分别与发光控制端(EM),第二耦合子电路的第二端和基准信号输出端(Ref)耦接;数据写入子电路,分别与写入控制端(Sn),第二耦合子电路的第二端和数据信号输入端(DA)耦接。

图片来源于网络,如有侵权,请联系删除
今年以来京东方A新获得专利授权2333个,较去年同期增加了0.26%。结合公司2024年年报财务数据,2024年公司在研发方面投入了131.23亿元,同比增15.94%。

图片来源于网络,如有侵权,请联系删除
数据来源:天眼查APP
以上内容为证券之星据公开信息整理,由AI算法生成(网信算备310104345710301240019号),不构成投资建议。
目录 返回
首页
