比亚迪获得发明专利授权:“用于电池托盘的边梁、电池托盘、电池包以及车辆”
证券之星消息,根据天眼查APP数据显示比亚迪(002594)新获得一项发明专利授权,专利名为“用于电池托盘的边梁、电池托盘、电池包以及车辆”,专利申请号为CN202210249500.3,授权日为2025年11月4日。

图片来源于网络,如有侵权,请联系删除
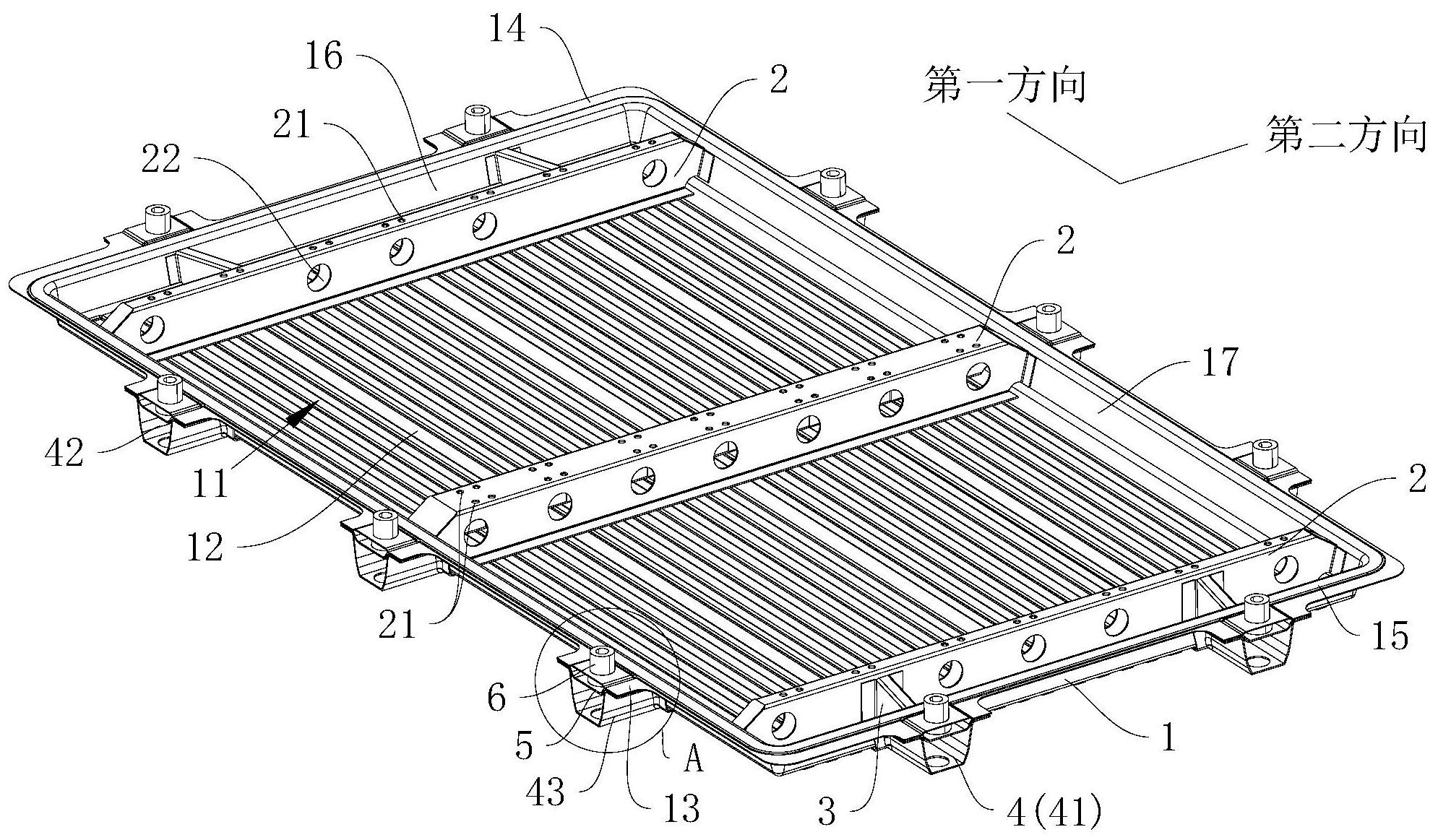
专利摘要:本发明公开了一种用于电池托盘的边梁、电池托盘、电池包以及车辆,边梁包括:边梁本体,边梁本体限定出空腔,边梁本体具有分隔部,分隔部位于空腔内,分隔部连接在空腔的顶壁和底壁之间以将空腔分隔为第一子腔和第二子腔,第一子腔和第二子腔在边梁的第一方向依次排布,第一子腔的横截面面积为S1,第二子腔的横截面面积为S2,满足关系式:0.8<S1/S2<1。由此,通过本申请的边梁本体,能够提升边梁的结构强度、刚度,也能够保证电池包模态适宜,子腔受到撞击时能够吸收碰撞力,降低了传递至电池包内部碰撞力大小,可以降低边梁变形风险,从而可以延长边梁、电池托盘的使用寿命。

图片来源于网络,如有侵权,请联系删除
今年以来比亚迪新获得专利授权4133个,较去年同期增加了44.26%。结合公司2025年中报财务数据,今年上半年公司在研发方面投入了295.96亿元,同比增50.84%。
通过天眼查大数据分析,比亚迪股份有限公司共对外投资了108家企业,参与招投标项目1000次;财产线索方面有商标信息3064条,专利信息39737条,著作权信息134条;此外企业还拥有行政许可153个。
数据来源:天眼查APP
以上内容为证券之星据公开信息整理,由AI算法生成(网信算备310104345710301240019号),不构成投资建议。
目录 返回
首页
