中国石油获得发明专利授权:“油井分采对接装置”
证券之星消息,根据天眼查APP数据显示中国石油(601857)新获得一项发明专利授权,专利名为“油井分采对接装置”,专利申请号为CN202310356047.0,授权日为2025年11月7日。

图片来源于网络,如有侵权,请联系删除
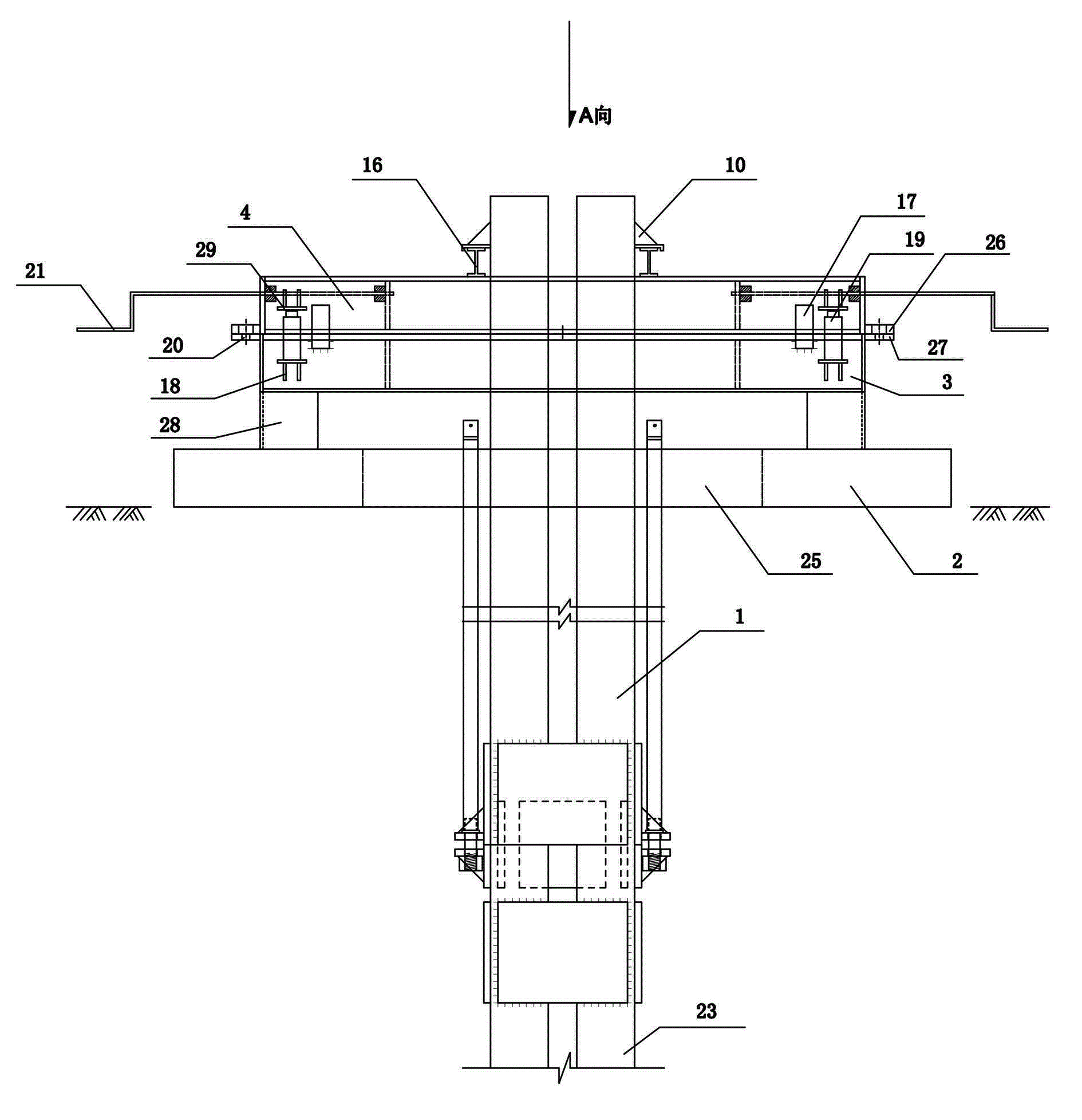
专利摘要:本申请公开了一种油井分采对接装置,属于油田开发技术领域。油井分采对接装置包括第一对接部分和第二对接部分,在进行分层采油时,先向井中下入第一对接部分,当第一对接部分到达井中第一预设位置时,将第一对接部分中的连接组件从井中起出,然后下入第二对接部分,在下入第二对接部分的过程中,第一对接部分的导向头刺破第二对接部分的保护盖,继续下入第二对接部分,第一电极与第二电极对接。由于第一电极的外壁遍布导电点,因此,第一电极可以通过多个导电点与第二电极连接,从而提高对接成功率。并且,第二对接部分包括第一保护套,第一保护套内填充绝缘硅脂,绝缘硅脂可以隔绝液体,防止液体渗入,从而进一步提高对接成功率。

图片来源于网络,如有侵权,请联系删除
今年以来中国石油新获得专利授权1608个,较去年同期减少了8.9%。结合公司2025年中报财务数据,今年上半年公司在研发方面投入了98.99亿元,同比增2.51%。

图片来源于网络,如有侵权,请联系删除
通过天眼查大数据分析,中国石油天然气股份有限公司共对外投资了1291家企业,参与招投标项目443次;财产线索方面有商标信息107条,专利信息47196条;此外企业还拥有行政许可168个。
数据来源:天眼查APP
以上内容为证券之星据公开信息整理,由AI算法生成(网信算备310104345710301240019号),不构成投资建议。
目录 返回
首页
