冠农股份获得实用新型专利授权:“一种番茄移栽用打孔机头”
证券之星消息,根据天眼查APP数据显示冠农股份(600251)新获得一项实用新型专利授权,专利名为“一种番茄移栽用打孔机头”,专利申请号为CN202422403846.1,授权日为2025年10月31日。

图片来源于网络,如有侵权,请联系删除
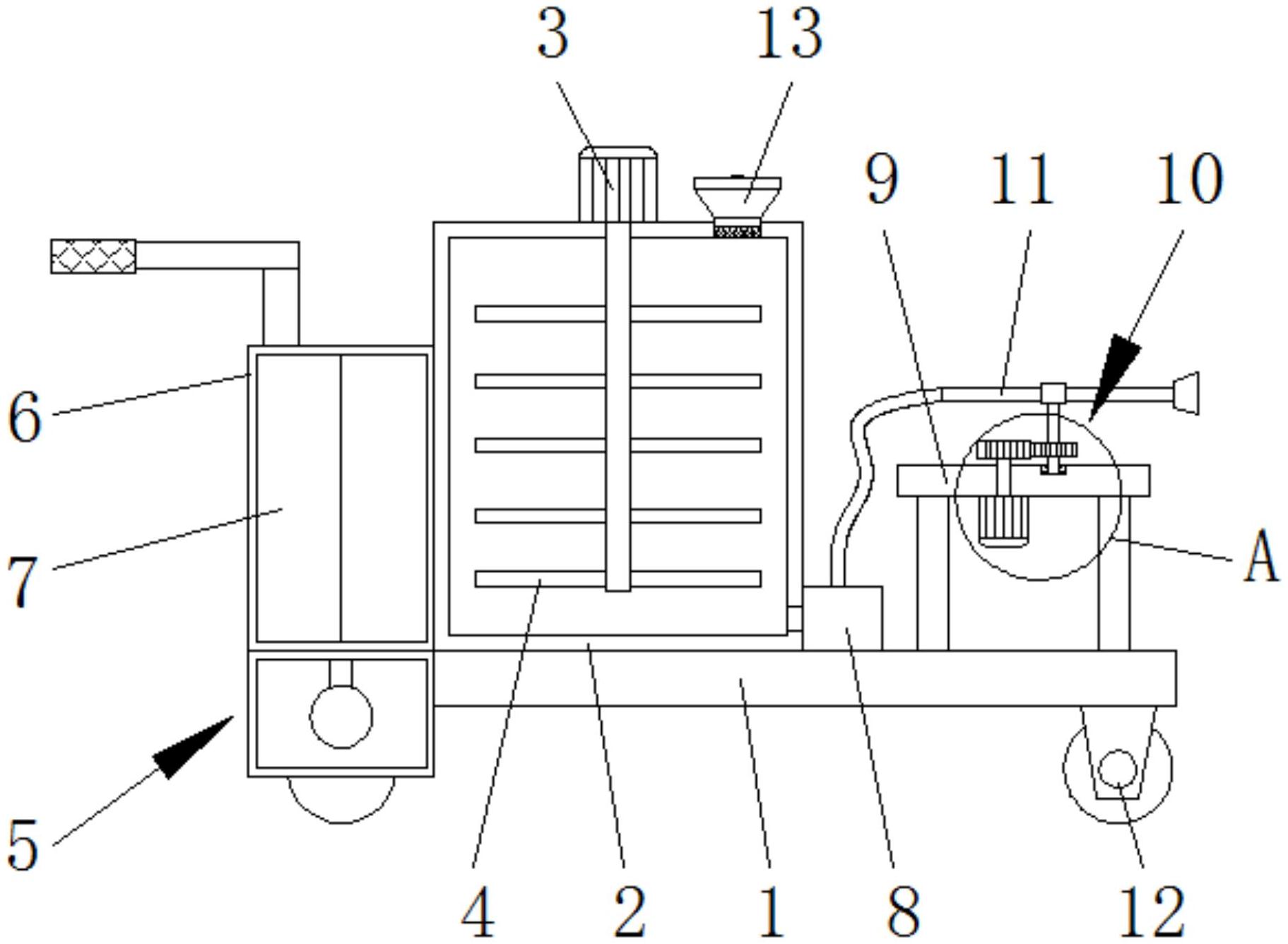
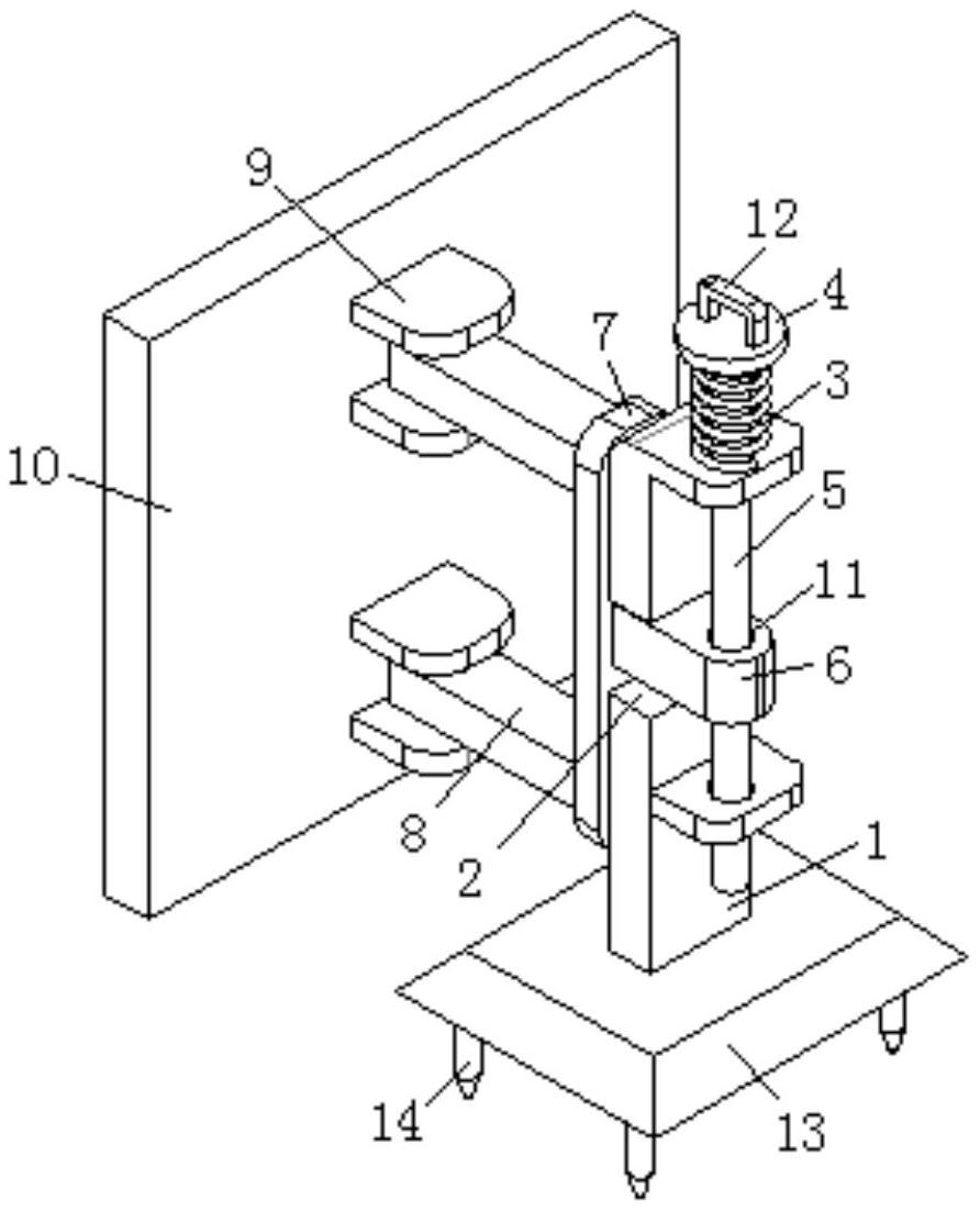
专利摘要:本实用新型公开了一种番茄移栽用打孔机头,属于农作物移栽种植设备技术领域,打孔滚筒的表面固定套接有打孔头,打孔头的中心位置设置有通孔,打孔滚筒的侧面设置有收纳槽,收纳槽的内壁中心位置固定连接有旋转座,旋转座的侧面固定连接有导流板,该番茄移栽用打孔机头,通过设置的锥形中空打孔头,在行走过程中不仅可以进行打孔工作,而且可以钻到地里前后活动进行扩孔,避免打出的孔产生塌陷,大大的提高了打孔质量,并且通过设置的导流板、导流面和锥形通孔,可以在打孔滚筒旋转过程中,将通孔内排出的土自动导出,远离打孔处,避免打出的孔因为排出的土而造成填埋堵塞,同时便于后期番茄移栽后进行培土。

图片来源于网络,如有侵权,请联系删除
今年以来冠农股份新获得专利授权19个,较去年同期增加了111.11%。结合公司2025年中报财务数据,今年上半年公司在研发方面投入了1535.63万元,同比增106.95%。

图片来源于网络,如有侵权,请联系删除
通过天眼查大数据分析,新疆冠农股份有限公司共对外投资了24家企业,参与招投标项目570次;财产线索方面有商标信息332条,专利信息206条,著作权信息21条;此外企业还拥有行政许可23个。
数据来源:天眼查APP
以上内容为证券之星据公开信息整理,由AI算法生成(网信算备310104345710301240019号),不构成投资建议。
目录 返回
首页
