石头科技公布国际专利申请:“机械手、机械臂机构、清洁设备与清洁系统”
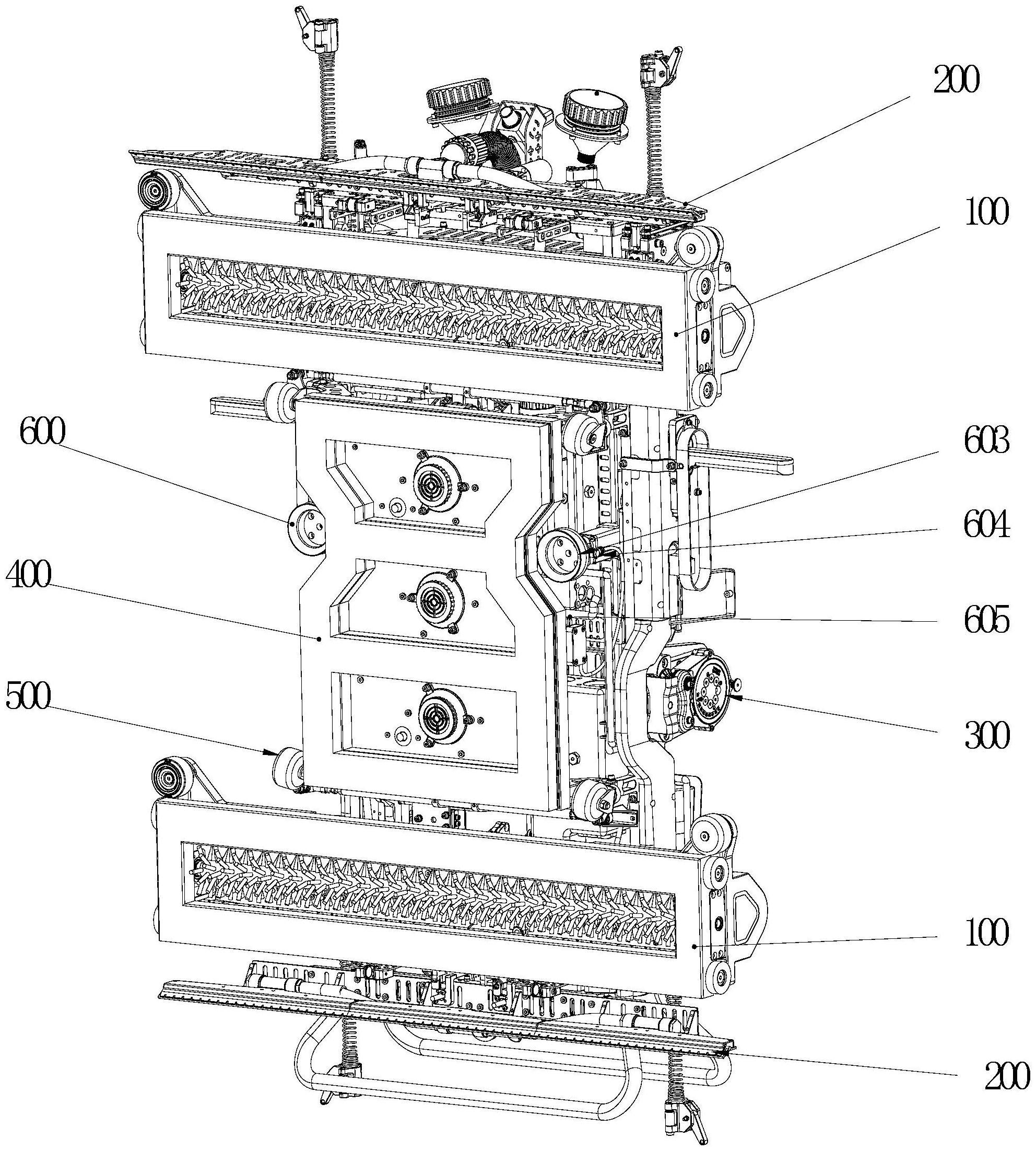
证券之星消息,根据企查查数据显示石头科技(688169)公布了一项国际专利申请,专利名为“机械手、机械臂机构、清洁设备与清洁系统”,专利申请号为PCT/CN2024/134345,国际公布日为2026年2月5日。

图片来源于网络,如有侵权,请联系删除
专利详情如下:

图片来源于网络,如有侵权,请联系删除
图片来源:世界知识产权组织(WIPO)

图片来源于网络,如有侵权,请联系删除
今年以来石头科技已公布的国际专利申请21个,较去年同期增加了2000%。结合公司2025年中报财务数据,2025上半年公司在研发方面投入了6.85亿元,同比增67.28%。
数据来源:企查查
以上内容为证券之星据公开信息整理,由AI算法生成(网信算备310104345710301240019号),不构成投资建议。
目录 返回
首页
