富岭股份获得实用新型专利授权:“一种餐具投放装置”
证券之星消息,根据天眼查APP数据显示富岭股份(001356)新获得一项实用新型专利授权,专利名为“一种餐具投放装置”,专利申请号为CN202520749884.4,授权日为2026年3月3日。

图片来源于网络,如有侵权,请联系删除
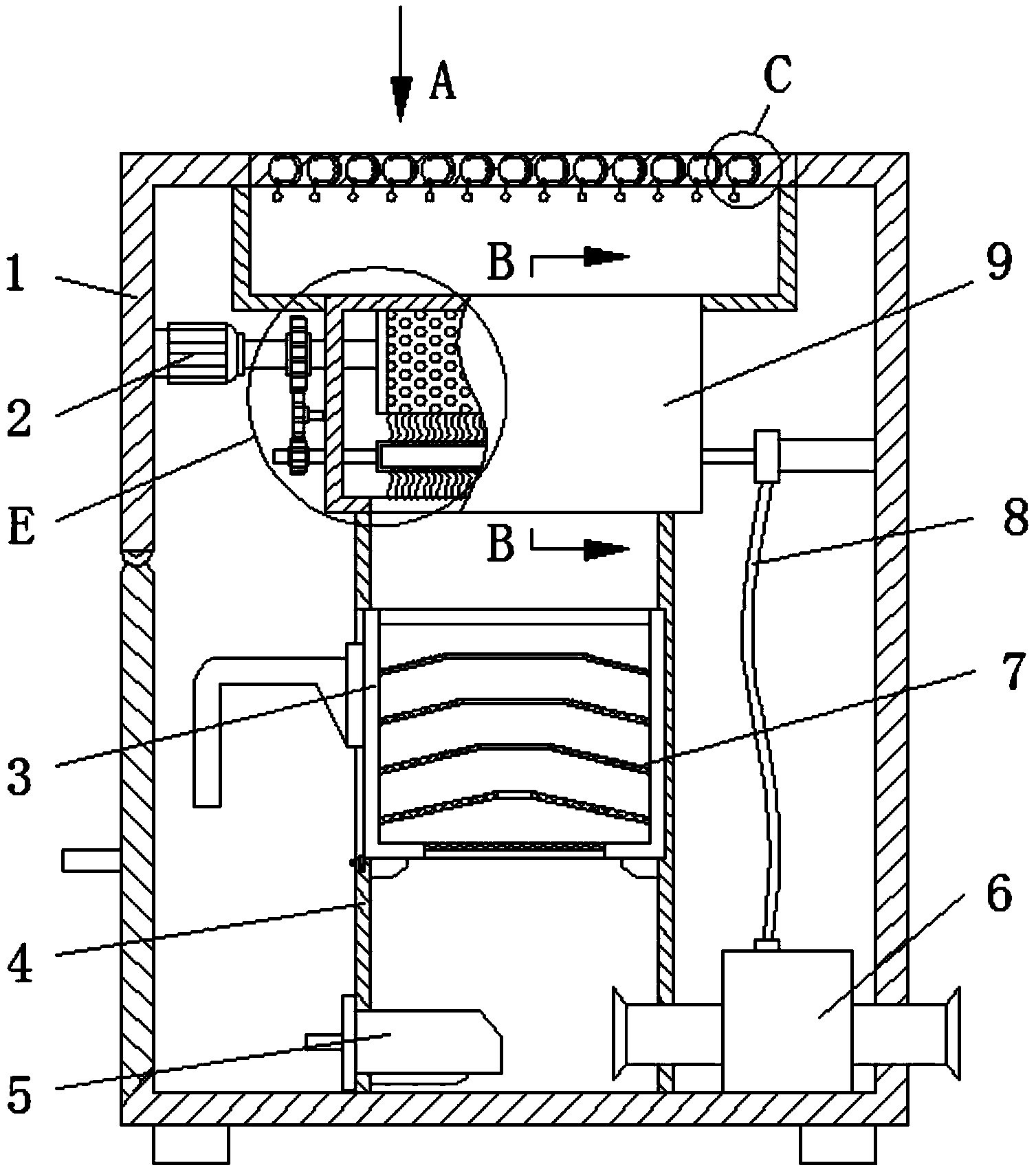
专利摘要:本实用新型涉及一种餐具投放装置,包括若干餐具盒,所述餐具盒上设有用于放置若干餐具的置物通道,所述置物通道的底部设有托板,所述置物通道底部的侧面设有移动通道和投放缺口,所述移动通道内活动设有推块,所述投放缺口的高度仅能容许单个餐具通过,与所述托板接触的餐具能在所述推块的推动下穿过所述投放缺口并脱离所述托板,使其脱离所述置物通道。本实用新型中叠放在置物通道内的餐具能在推块的推动下下落至投放槽内,用户通过投放口拿取投放完毕的餐具,餐具投放井然有序并且保证餐具的卫生质量;投放缺口的高度仅能容许单个餐具通过,保证每次只有一个餐具被投放,投放精准,避免餐具浪费。

图片来源于网络,如有侵权,请联系删除
今年以来富岭股份新获得专利授权7个,较去年同期增加了600%。结合公司2025年中报财务数据,2025上半年公司在研发方面投入了2715.03万元,同比减7.88%。

图片来源于网络,如有侵权,请联系删除
通过天眼查大数据分析,富岭科技股份有限公司共对外投资了7家企业,参与招投标项目10次;财产线索方面有商标信息38条,专利信息125条;此外企业还拥有行政许可90个。
数据来源:天眼查APP
以上内容为证券之星据公开信息整理,由AI算法生成(网信算备310104345710301240019号),不构成投资建议。
目录 返回
首页
