南 玻A获得实用新型专利授权:“一种阴极背板装置及其玻璃镀膜设备”
证券之星消息,根据天眼查APP数据显示南 玻A(000012)新获得一项实用新型专利授权,专利名为“一种阴极背板装置及其玻璃镀膜设备”,专利申请号为CN202521023368.X,授权日为2026年4月21日。

图片来源于网络,如有侵权,请联系删除
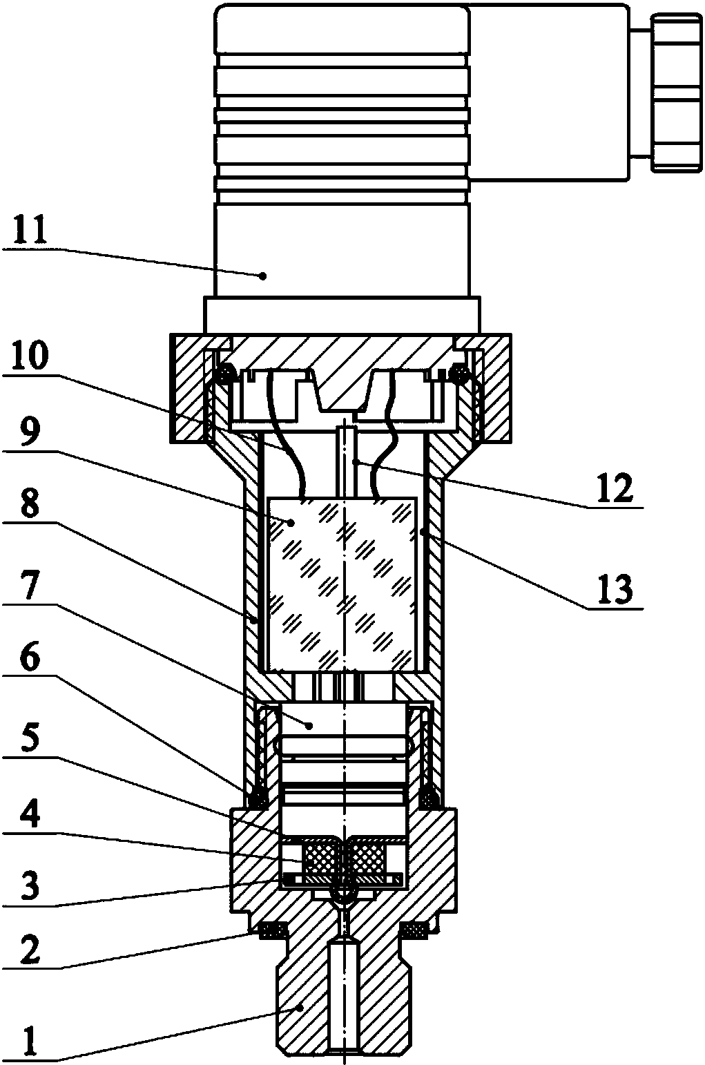
专利摘要:本实用新型涉及玻璃生产领域,具体涉及一种阴极背板装置及其玻璃镀膜设备,阴极背板结构包括:支撑板,支撑板一面设有积渣吸附网,积渣吸附网远离支撑板的一面设有保护网,保护网朝向支撑板的一面与支撑板连接,积渣吸附网用于吸附支撑板下落的积渣,保护网的目数为4目,积渣吸附网的目数为60目,通过将支撑板、积渣吸附网和保护网组合为阴极背板,使得支撑板上的积渣在下落的途中能够被积渣吸附网所吸附,降低了积渣掉落在玻璃上的概率,提高了玻璃的良品率,通过在积渣吸附网远离支撑板的一面设置保护网,通过保护网对积渣吸附网进行保护避免积渣吸附网直接受到工作环境的直接影响,提高了积渣吸附网的使用寿命。

图片来源于网络,如有侵权,请联系删除
今年以来南 玻A新获得专利授权59个,较去年同期减少了16.9%。结合公司2025年中报财务数据,2025上半年公司在研发方面投入了2.58亿元,同比减23.38%。
通过天眼查大数据分析,中国南玻集团股份有限公司共对外投资了50家企业,参与招投标项目260次;财产线索方面有商标信息180条,专利信息2492条,著作权信息6条;此外企业还拥有行政许可7个。
数据来源:天眼查APP
以上内容为证券之星据公开信息整理,由AI算法生成(网信算备310104345710301240019号),不构成投资建议。
目录 返回
首页
