财智汇

科大智能获得实用新型专利授权:“一种导轨式电能表”

24 04月
作者:小微|{/foreach}{/if}

证券之星消息,根据天眼查APP数据显示科大智能(300222)新获得一项实用新型专利授权,专利名为“一种导轨式电能表”,专利申请号为CN202520975570.6,授权日为2026年4月24日。

科大智能获得实用新型专利授权:“一种导轨式电能表”
图片来源于网络,如有侵权,请联系删除

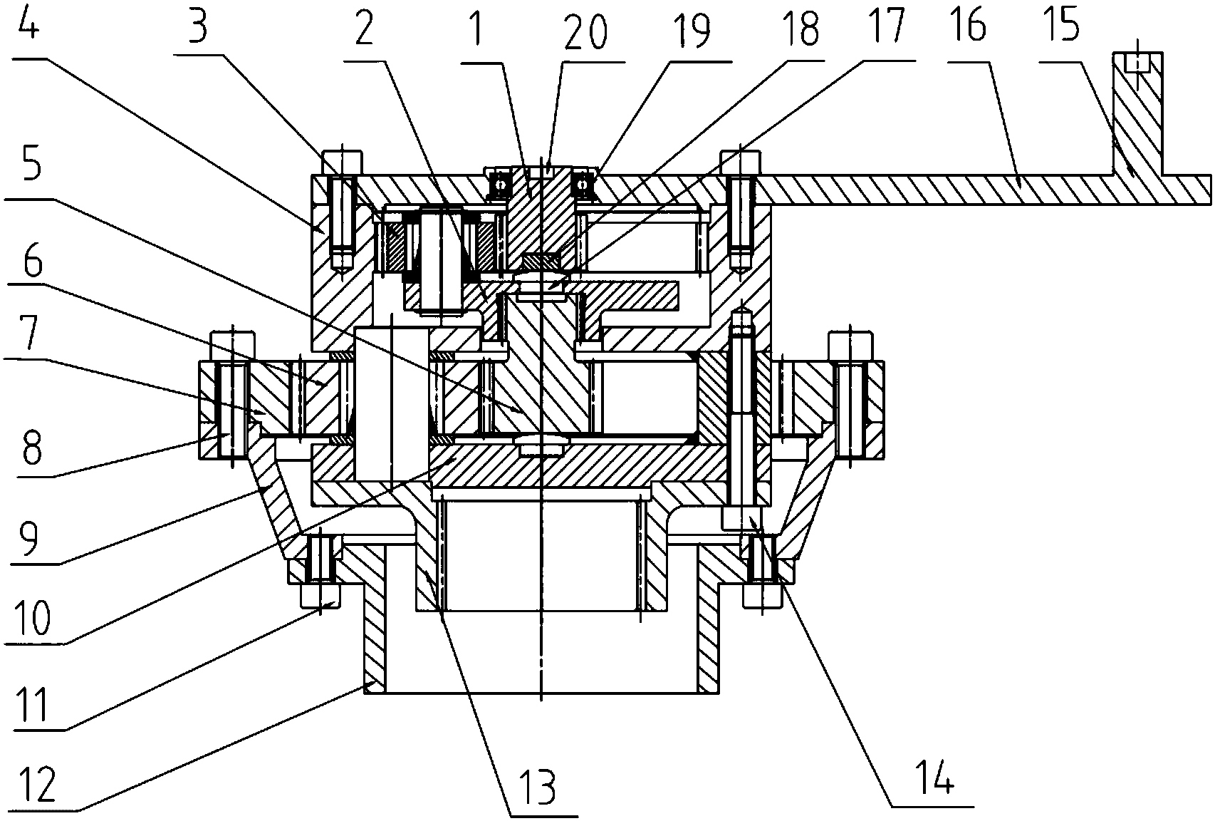
专利摘要:本实用新型涉及电力设备技术领域,公开了一种导轨式电能表,包括安装板和固定在安装板上的电能表本体,安装机构,用于安装安装板,包括设置在安装板外侧的安装块和滑动插设在安装块内部的导轨;连接组件,用于调节电能表本体的角度,包括固定在安装块两侧的连接柱和转动连接在连接柱尾端的连接部一,连接部一开设有滑槽,滑槽的内部滑动插设有固定在安装板上的连接部二。本实用新型结构合理,可简单方便的对电能表的相应角度进行调控,可对电能表的相应位置进行调控,可对闲置的电能表进行防护,便于使用,防护性能高。

今年以来科大智能新获得专利授权13个,较去年同期增加了30%。结合公司2025年年报财务数据,2025年公司在研发方面投入了1.84亿元,同比减5.34%。

通过天眼查大数据分析,科大智能科技股份有限公司共对外投资了20家企业,参与招投标项目1409次;财产线索方面有商标信息59条,专利信息358条,著作权信息98条;此外企业还拥有行政许可11个。

数据来源:天眼查APP

以上内容为证券之星据公开信息整理,由AI算法生成(网信算备310104345710301240019号),不构成投资建议。

浏览57.1k
返回
目录
返回
首页
美诺华:关于实施“美诺转债”赎回暨摘牌的第三次提示性公告

Copyright © 2024 dw 版权所有

备案号: 蜀ICP备2024051291号-14

财智汇专业为您提供金融聚焦、实时解盘、新风向、业界新讯、财智新视、数字财经等财经方面资讯,财智汇是一个专业财经领域资讯服务者。

本站部分内容为转载,不代表本站立场,如有侵权请联系处理。