财智汇

厦门钨业获得实用新型专利授权:“扁线电机定子用梳线工装、扁线扩口扭头设备及系统”

17 10月
作者:小微|{/foreach}{/if}

证券之星消息,根据天眼查APP数据显示厦门钨业(600549)新获得一项实用新型专利授权,专利名为“扁线电机定子用梳线工装、扁线扩口扭头设备及系统”,专利申请号为CN202422692023.5,授权日为2025年10月17日。

厦门钨业获得实用新型专利授权:“扁线电机定子用梳线工装、扁线扩口扭头设备及系统”
图片来源于网络,如有侵权,请联系删除

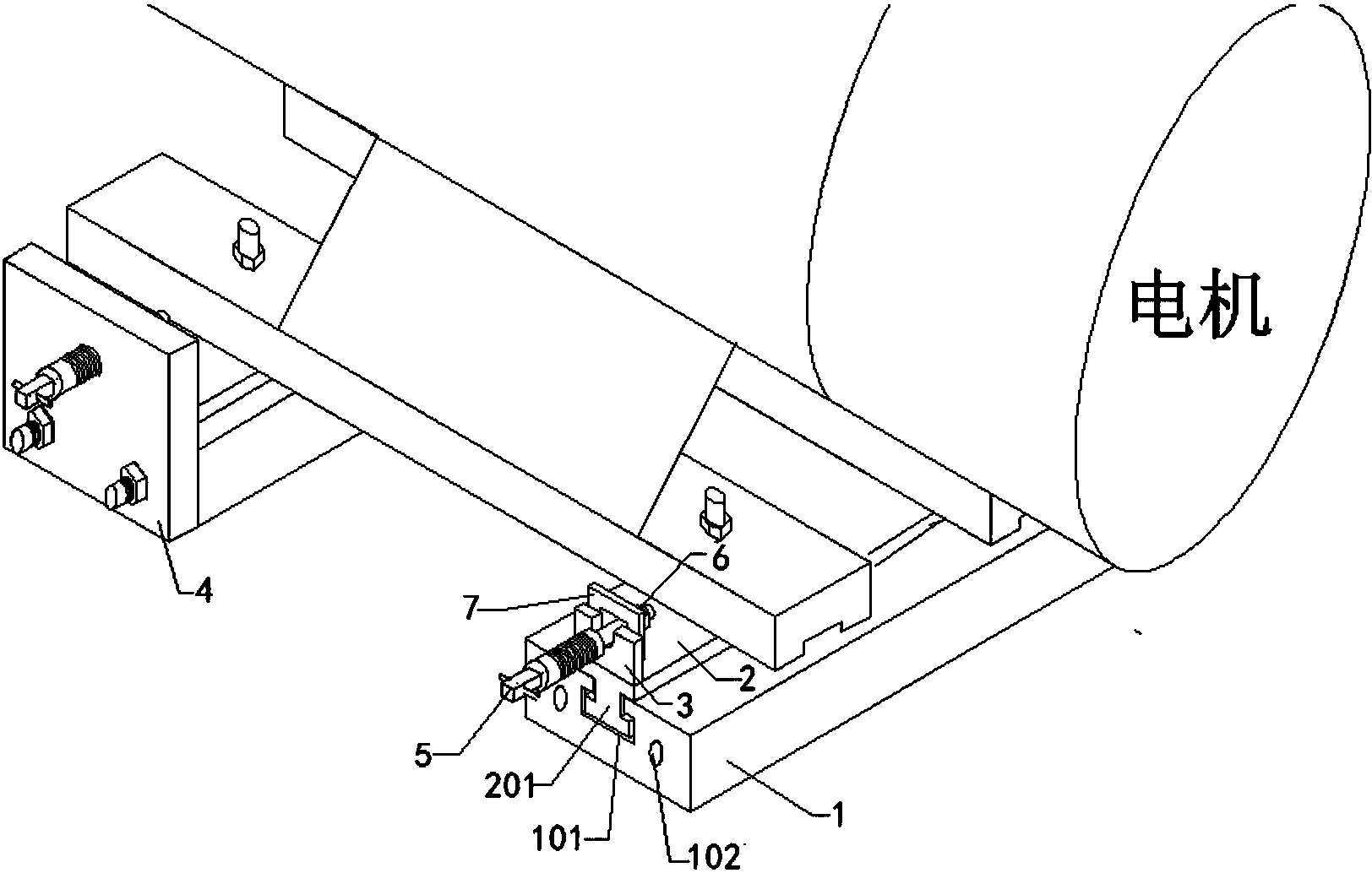
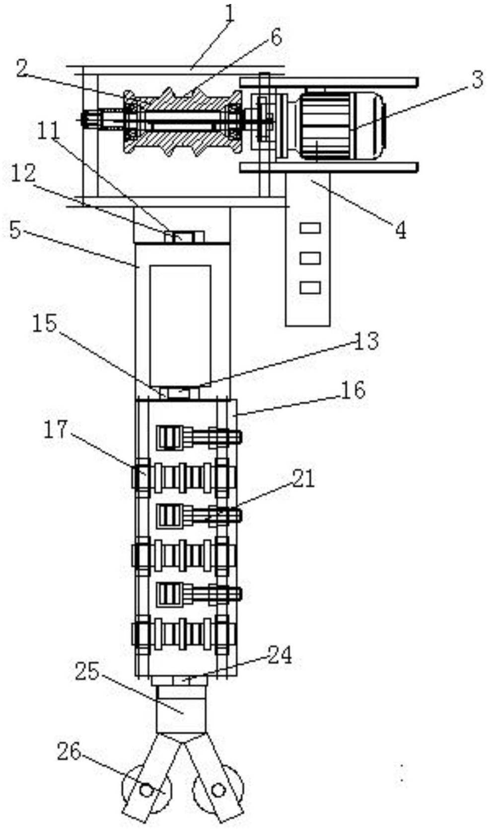
专利摘要:本申请公开了一种扁线电机定子用梳线工装,属于扁线电机组装设备技术领域。通过将复用推块同时与两个梳线盘的侧面连接。如此,在多个伸缩梳齿处于初始状态的情况下,复用推块在受到外力作用下移动以带动两个梳线盘同时沿第一方向转动的过程中能够同时带动多个伸缩梳齿回缩,以便于将定子置于多个伸缩梳齿的端部所围成的区域内。此时产生弹性变形的弹性元件在回弹力的作用下能够带动复用推块移动以带动两个梳线盘同时沿第二方向转动的过程中能够同时带动多个伸缩梳齿将定子夹持。这样,采用上述工装对定子进行装夹操作灵活方便,且保证定子装夹后在后续扩口和扭头工序中的持续流转,进而保证了定子的工艺质量。

厦门钨业获得实用新型专利授权:“扁线电机定子用梳线工装、扁线扩口扭头设备及系统”
图片来源于网络,如有侵权,请联系删除

今年以来厦门钨业新获得专利授权70个,较去年同期增加了34.62%。结合公司2025年中报财务数据,今年上半年公司在研发方面投入了7.34亿元,同比减1.39%。

厦门钨业获得实用新型专利授权:“扁线电机定子用梳线工装、扁线扩口扭头设备及系统”
图片来源于网络,如有侵权,请联系删除

通过天眼查大数据分析,厦门钨业股份有限公司共对外投资了47家企业,参与招投标项目14532次;财产线索方面有商标信息371条,专利信息728条,著作权信息36条;此外企业还拥有行政许可33个。

数据来源:天眼查APP

以上内容为证券之星据公开信息整理,由AI算法生成(网信算备310104345710301240019号),不构成投资建议。

浏览49.7k
返回
目录
返回
首页
“白衣骑士”频登场、多数仍陷转股难 银行可转债背后“冰火两重天” 微博曹增辉:产品、创作者、大V协同驱动平台进化

Copyright © 2024 dw 版权所有

备案号: 蜀ICP备2024051291号-14

财智汇专业为您提供金融聚焦、实时解盘、新风向、业界新讯、财智新视、数字财经等财经方面资讯,财智汇是一个专业财经领域资讯服务者。

本站部分内容为转载,不代表本站立场,如有侵权请联系处理。